
Fue en julio de este 2016 cuando surgió el rumor de que Microsoft estaba por ampliar la familia de productos Surface, la información apuntaba a un ordenador de sobremesa 'all-in-one', rumor que sigue tomando fuerza e incluso ya se habla de un evento programado para finales de octubre donde además conoceríamos la renovación del Surface Book con una nueva bisagra.
Hoy el rumor se empieza a materializar gracias a unas fotografías y documentos pertenecientes a la Comisión Federal de Comunicaciones (FCC), organismo encargado de otorgar licencias para la comercialización de ciertos productos en los Estados Unidos, de la cual ya hemos tenido el mismo tipo de filtraciones en ocasiones anteriores. En los documentos podemos ver por primera vez el aspecto del teclado y el mouse que incluirán este supuesto ordenador Surface all-in-one, además de confirmarse el diseño modular.
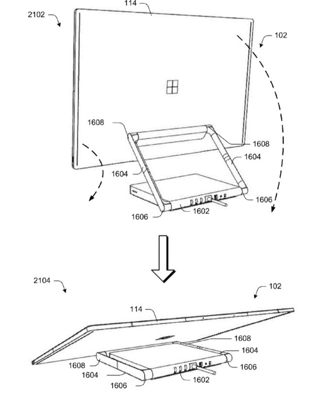
Diseño modular como seña característica
Las imágenes de la FCC nos muestran un teclado Bluetooth color gris con acabado metálico y teclas chiclet, muy al estilo del Surface Book, que extrañamente no posee el diseño ergonómico que apareció en anteriores filtraciones, pero según Windows Central dicho teclado sigue en la lista de lanzamientos y al parecer se venderá por separado.

Por otro lado también tenemos la presencia de un mouse bajo la marca Surface, el cual posee los mismos acabados que el teclado, de igual forma cuenta con conexión Bluetooth 4.0 y su alimentación es base de dos pilas AAA, las cuales le darán una vida de 12 meses bajo uso medio.

Por último, se han publicado un par de bocetos que nos muestran parte del diseño que tendría este ordenador, el cual supuestamente llegaría con pantalla 4K compatible con lápiz óptico, y con los nuevos procesadores Intel Kaby Lake de séptima generación. Pero lo más interesante es que estaríamos ante un diseño modular en la parte trasera de la pantalla que nos permitirá cambiar y añadir algunos componentes de forma sencilla, como memoria RAM, almacenamiento SSD, sensores, y hasta la tarjeta gráfica, una idea muy similar a lo que vimos con el Acer Revo Build.


Hasta el momento no hay nada confirmado por parte de Microsoft, pero hay que recordar que hace un año, el 6 de octubre de 2015, la compañía presentó su nueva gama de dispositivos Surface y Lumia, por lo que suena descabellado que en cualquier momento se pueda anunciar un evento, en el cual sería anunciado este nuevo Surface all-in-one. Sólo nos queda esperar.
Vía | The Next Web
En Xataka | Ordenadores todo-en-uno y un Surface Book con otra bisagra es lo que suena con fuerza en el universo Surface
También te recomendamos
¿Y si la próxima Surface es un todo en uno? Suenan rumores de all-in-one en Microsoft
¿Os apetece un ordenador Surface tipo todo-en-uno? Lo conoceremos en octubre
Por qué le ha dado a todo el mundo por decir que en 2045 el hombre será inmortal
-
La noticia El rumoreado Surface all-in-one se pasea por la FCC y nos da más pistas de su diseño fue publicada originalmente en Xataka por Raúl Álvarez .
via Xataka http://ift.tt/2dJqswV
No hay comentarios:
Publicar un comentario